Skip to content
环球财讯网

环球财讯网

专业财经门户,包含实时财经、股票、行情、证券、基金、理财资讯。

  • 首页
  • 国内财讯
  • 国内热点
  • 公司财讯
  • 基金
  • 科技财讯
  • 滚动财讯
  • 香港财讯
  • 国际财讯
  • Toggle search form
  • 买手电商,小红书的“新解药”? 国内热点
  • 科兴制药:行稳致远 致力于成为高品质生物药领导者
    科兴制药:行稳致远 致力于成为高品质生物药领导者 国内热点
  • 海外一款让你驾车就能赚取收益的Web3生活应用
    海外一款让你驾车就能赚取收益的Web3生活应用 国内热点
  • 央视大型工业纪录片《智造中国》上线,首站为何选择海尔? 国内热点
  • 奠基皖西,呼应华东,鸿日汽车集团金寨生产基地正式开工建设 国内热点
  • 春兴精工“蹊跷”收购:未按期付款惹麻烦缠身,遭交易对方起诉 公司财讯
  • 同比碳减排减少85%,菜鸟联手国货航完成中国大陆首个国际航空货运SAF商业航班飞行 国内热点
  • “全城天天88” 融合潮流文化拉动消费内需 国内热点
爱企查显示比亚迪申请注册“可乐”商标,或对标长城“咖啡”系列

爱企查显示比亚迪申请注册“可乐”商标,或对标长城“咖啡”系列

Posted on 2022年9月7日

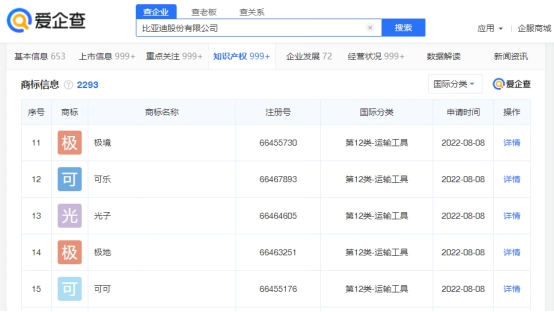
据爱企查App显示,近日,比亚迪股份有限公司申请注册“可乐”商标,国际分类为第12类-运输工具,目前商标进度为注册申请中。

爱企查显示比亚迪申请注册“可乐”商标,或对标长城“咖啡”系列
  据了解,运输工具这一分类下的产品包括汽车、大客车、卡车、公共汽车、叉车、汽车车身、陆地车辆用电动机等,这表明,“可乐”商标可能会用在比亚迪旗下未来的新款车型上。

爱企查显示比亚迪申请注册“可乐”商标,或对标长城“咖啡”系列
  除了“可乐”,据爱企查App显示,比亚迪股份有限公司近日还申请注册了“极境”“光子”“极地”“可可”等商标,国际分类均为第12类-运输工具,目前商标进度均为注册申请中。

爱企查显示比亚迪申请注册“可乐”商标,或对标长城“咖啡”系列
爱企查显示比亚迪申请注册“可乐”商标,或对标长城“咖啡”系列
  有业内人士称,此前长城汽车推出“咖啡”系列车型,受到不少市场好评,比亚迪此次注册另类商标名称,或为对标竞争对手车型做准备。

国内热点

文章导航

Previous Post: 还不知道怎么开通微粒贷?快进来看看吧
Next Post: 捷信“2023战略”成效显著 ESG理念融入品牌基因

Related Posts

  • 大家人寿北京分公司走进商圈开展金融知识教育宣传活动 国内热点
  • 平台优势打造五星品质 工银瑞信基金20只产品获晨星五星评级 国内热点
  • 业界大咖齐聚五洲工业发展论坛 共谋深圳制造新发展
    业界大咖齐聚五洲工业发展论坛 共谋深圳制造新发展 国内热点
  • 行业首次“180天只换不修” 京东618新能源充电桩送装一体 实惠再升级 国内热点
  • 自动草稿
    《经典咏流传》第四期如期而至 六个核桃携手传承经典,歌颂时代 国内热点
  • 爱企查显示圆通速递注册资本增至11.7亿元,增幅超43% 国内热点

归档

  • 2025 年 12 月
  • 2025 年 11 月
  • 2025 年 10 月
  • 2025 年 9 月
  • 2025 年 8 月
  • 2025 年 7 月
  • 2025 年 6 月
  • 2025 年 5 月
  • 2025 年 4 月
  • 2025 年 3 月
  • 2025 年 2 月
  • 2025 年 1 月
  • 2024 年 12 月
  • 2024 年 11 月
  • 2024 年 10 月
  • 2024 年 9 月
  • 2024 年 8 月
  • 2024 年 7 月
  • 2024 年 6 月
  • 2024 年 5 月
  • 2024 年 4 月
  • 2024 年 3 月
  • 2024 年 2 月
  • 2024 年 1 月
  • 2023 年 12 月
  • 2023 年 11 月
  • 2023 年 10 月
  • 2023 年 9 月
  • 2023 年 8 月
  • 2023 年 7 月
  • 2023 年 6 月
  • 2023 年 5 月
  • 2023 年 4 月
  • 2023 年 3 月
  • 2023 年 2 月
  • 2023 年 1 月
  • 2022 年 12 月
  • 2022 年 11 月
  • 2022 年 10 月
  • 2022 年 9 月
  • 2022 年 8 月
  • 2022 年 7 月
  • 2022 年 6 月
  • 2022 年 5 月
  • 2022 年 4 月
  • 2022 年 3 月
  • 2022 年 2 月
  • 2022 年 1 月
  • 2021 年 12 月
  • 2020 年 7 月

分类

  • 公司财讯
  • 国内热点
  • 国内财讯
  • 国际财讯
  • 基金
  • 滚动财讯
  • 科技财讯
  • 香港财讯

近期文章

  • 为什么那么多人爱超霸? 国内热点
  • 博泽和大众的座椅系统合资公司 Brose Sitech正式投入运营
    博泽和大众的座椅系统合资公司 Brose Sitech正式投入运营 国内热点
  • 自动草稿
    HONMA高尔夫携手品牌代言人李易峰 国内热点
  • 基金三季报收官:32只个股持有超百亿元 5家公募管理规模超1万亿元 基金
  • 思美传媒:与安逸酒店集团签署战略合作协议,“文旅融合”背景下资产整合或加速? 国内热点
  • 股权转让、新发基金锐减、代销机构“退圈” 亏钱效应下基金公司不香了? 基金
  • 全新腾势N7上市即王炸,23.98万起,豪华纯电SUV价格战正式打响! 国内热点
  • 保障员工合法利益,“大爱美巢” 价值观充分凝聚发展共识 国内热点
友情连接
环球财讯网
萃富股票投资网
股票之声
股票
哈尔滨分类信息
长春新闻网
中国股市在线

Copyright © 2025 环球财讯网.

Powered by PressBook News WordPress theme