Skip to content
环球财讯网

环球财讯网

专业财经门户,包含实时财经、股票、行情、证券、基金、理财资讯。

  • 首页
  • 国内财讯
  • 国内热点
  • 公司财讯
  • 基金
  • 科技财讯
  • 滚动财讯
  • 香港财讯
  • 国际财讯
  • Toggle search form
  • 践行金融央企子公司担当 服务居民财富管理,助力经济高质量发展
    践行金融央企子公司担当 服务居民财富管理,助力经济高质量发展 国内热点
  • 爱企查显示,海底捞成功注册多个“嘴里捞”商标
    爱企查显示,海底捞成功注册多个“嘴里捞”商标 国内热点
  • 守牢安全生产底线!以高水平安全护航高质量发展 国内热点
  • 董子健孙怡宣布离婚,爱企查显示两人目前并无商业关联
    董子健孙怡宣布离婚,爱企查显示两人目前并无商业关联 国内热点
  • 以安全生产促项目全速推进 国内热点
  • 自动草稿
    第三分公司影视工业4.0项目举办2022年度立功竞赛动员大会 国内热点
  • “现金奶牛”版中证500来了 华夏中证500自由现金流ETF正式发行 国内热点
  • 送TA一枚欧米茄手表 体会爱与被爱的瞬间 国内热点
爱企查显示,小米眼镜软件著作权已获登记批准

爱企查显示,小米眼镜软件著作权已获登记批准

Posted on 2022年9月13日

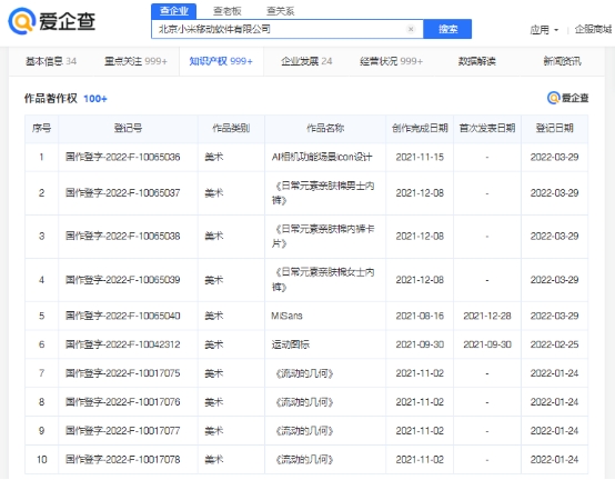
据爱企查App显示,近日,北京小米移动软件有限公司的“米家眼镜软件”已获得登记批准,版本号为V1.0,登记日期为2022年9月9日。

爱企查显示,小米眼镜软件著作权已获登记批准
  据爱企查App显示,北京小米移动软件有限公司成立于2012年5月,注册资本14.88亿元,经营范围含基础软件服务、应用软件服务;销售电子产品、通讯设备等。爱企查信息显示,截至目前,该公司已拥有近400份软件著作权、超100份作品著作权。

爱企查显示,小米眼镜软件著作权已获登记批准
爱企查显示,小米眼镜软件著作权已获登记批准
爱企查显示,小米眼镜软件著作权已获登记批准

国内热点

文章导航

Previous Post: 24期0费率、赢免单大奖!买iPhone 14就选招行信用卡
Next Post: 助力消费再上新台阶,招行信用卡推出“金九银十 天天消费券”

Related Posts

  • 喜茶投资少数派咖啡,爱企查显示持股约12% 国内热点
  • 添彩京城 璀璨启幕,北京平谷丽亭酒店盛大开业! 国内热点
  • 自动草稿
    智慧停车三强格局成形 泊链产业互联模式优势渐显 国内热点
  • 盛开极致生活 VS Kelly Hoppen 理念,臻装138复式样板间,如约绽放 国内热点
  • 升维药械“生态赋能”新战略华熙生物引领“系统抗衰”新时代 国内热点
  • 咳嗽不停严重影响生活 居家治疗用连花清咳片 国内热点

归档

  • 2026 年 3 月
  • 2026 年 2 月
  • 2026 年 1 月
  • 2025 年 12 月
  • 2025 年 11 月
  • 2025 年 10 月
  • 2025 年 9 月
  • 2025 年 8 月
  • 2025 年 7 月
  • 2025 年 6 月
  • 2025 年 5 月
  • 2025 年 4 月
  • 2025 年 3 月
  • 2025 年 2 月
  • 2025 年 1 月
  • 2024 年 12 月
  • 2024 年 11 月
  • 2024 年 10 月
  • 2024 年 9 月
  • 2024 年 8 月
  • 2024 年 7 月
  • 2024 年 6 月
  • 2024 年 5 月
  • 2024 年 4 月
  • 2024 年 3 月
  • 2024 年 2 月
  • 2024 年 1 月
  • 2023 年 12 月
  • 2023 年 11 月
  • 2023 年 10 月
  • 2023 年 9 月
  • 2023 年 8 月
  • 2023 年 7 月
  • 2023 年 6 月
  • 2023 年 5 月
  • 2023 年 4 月
  • 2023 年 3 月
  • 2023 年 2 月
  • 2023 年 1 月
  • 2022 年 12 月
  • 2022 年 11 月
  • 2022 年 10 月
  • 2022 年 9 月
  • 2022 年 8 月
  • 2022 年 7 月
  • 2022 年 6 月
  • 2022 年 5 月
  • 2022 年 4 月
  • 2022 年 3 月
  • 2022 年 2 月
  • 2022 年 1 月
  • 2021 年 12 月
  • 2020 年 7 月

分类

  • 公司财讯
  • 国内热点
  • 国内财讯
  • 国际财讯
  • 基金
  • 滚动财讯
  • 科技财讯
  • 香港财讯

近期文章

  • 微信内测跨境电商平台云逛全球:邀请海淘商家小程序入驻 科技财讯
  • 仙乐健康:拟收购标的估值调整具备合理性,可持续盈利能力未来可期 国内热点
  • 踔厉风发抓党建,笃行不怠促发展 国内热点
  • 健合构建母婴公益新生态 可持续发展进程提速 国内热点
  • The Other Side,与欧米茄月之暗面“阿波罗8号”不见不散 国内热点
  • 孙宇晨用一根香蕉撬动地球:全网爆红的620万美元艺术品,象征了加密文化的力量 国内热点
  • 求职必看!@高校毕业生,泰康大健康事业合伙人一“职”等你 国内热点
  • 腾势N7 史上最强OTA,高速NOA、预瞄正式推送,坐实智驾第一梯队! 公司财讯
友情连接
环球财讯网
萃富股票投资网
股票之声
股票
哈尔滨分类信息
长春新闻网
中国股市在线

Copyright © 2026 环球财讯网.

Powered by PressBook News WordPress theme